Contact Printers

Intermittent or step contact printers

Continuous contact printers

 


Intermittent or step contact printers

In an intermittent contact printer, the original O and the unexposed film R are brought together, emulsion-to-emulsion, on to a continuously rotating sprocket wheel F.  After forming a loop, they pass in close contact (to ensure good sharpness) through a tensioned gate in which an aperture, slightly larger than the original picture-area, admits light from the source L, via a condenser lens C. After forming a second loop below the gate the films pass under a take-up sprocket K and then separate, the original being spooled up at 01 and the exposed raw stock at R1.

The loops are formed in the paths of each film, both before and after the gate, to absorb film from and to the sprockets during the stationary period of the intermittent motion.

The two films are both pulled intermittently and synchronously through the gate by a claw mechanism T. Whilst the films are being moved forward, the rotating shutter S obscures light from the printing aperture. Immediately the claw has completed the forward stroke, the open section of the shutter reveals the printing aperture and light is again exposes the films.

In certain precision step printers, the two films are also very exactly positioned in the aperture by closely fitting register pins which engage in chosen perforation holes of the two films in the gate.

The printing speed of such a machine is rather slow, of the order of about 50 feet (15m) per minute with good picture steadiness and repeatable exposure. Because of the slow speed, such printers are able to take damaged and shrunken material up to a certain limit. The Matipo printer was made by Debrie, of Paris, for 40 years and many specialist archive laboratories still keep them running. It is the workhorse printer of many archives and is a "precision" printer with a register pin to ensure that the film is firmly and repeatedly held in the same position for each frame. This pin is often removed to enable shrunken film to be handled without damage.

The Arri step printer, from Arnold and Richter of Munchen was a similar printer that was made for many years.

 

 

 

 From an old technical manual: how to thread a Debrie Matipo. Note that this is still a model meant for silent films, since it lacks any sound head attachment.

 

 

 

 

 

 

 


Continuous Contact printers

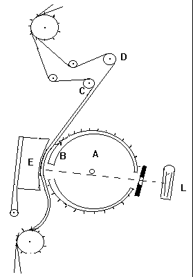
The layout of a simple continuous contact printing system is seen in the illustration.

In this machine both original and raw stock are fed from the upper supply sprocket, via a series of rollers, to the main central sprocket A.  This sprocket carries them in close contact past the printing aperture B. Good contact between the two films is obtained by holding them to a curved path at the printing aperture, firstly by the tension derived from the weighted idler [i.e. free running] rollers C and D and, secondly, by pressure from the polished steel shoe E. The main sprocket A is enclosed so that light only reaches the original and raw stock film combination at the printing aperture B and, in this arrangement, from the lamp L via a suitable condenser lens system.

This illustration shows a printer with a very curved gate that by virtue of that curve tensions the two films and held them in good contact. This is frequently called a rotary contact printer. Good examples of these are everywhere in the film industry today as almost all cinema prints are made on these machines. Examples of these printers are the Bell and Howell printers, made in Chicago, Models J, D and C. The Model C is still being made today by BHP Inc. Many other companies made these types of printer, Union, Lynes, Hollywood Film Co, Carter, Peterson, Arri, Debrie, and so on.

 

Rotary printers are generally high-speed printers, operating at speeds from 60 ft per min to over 1000 ft per min. No matter what the speed of operation, uniform continuous movement is essential to avoid irregular exposure, and the contact between the two films must be consistent and intimate during the whole exposure period.

 

 

 

The printing head of a B&H Model D printer, one of the earliest and most successful models of continuous contact printers. Following the letters used in the previous diagram, you can easily recognise the different parts of the printing head

 

 

 

Most contact printers are sprocket driven like all other printers, but the BHP Modular Printer is effectively friction or capstan driven with one sprocket wheel at the film gate to fix the location of the two print stocks only at this point.

 

 

 

A picture of the printing heads of a Bell & Howell Model C, one of the most successful contact printers ever produced

 

 

 

 

 

Some continuous contact printers of almost exactly the same design as those used in the 1890's were made until the 1950's. These have the two sprocketed drive rollers and a flat or only slightly curved gate and are sometimes called flatbed printers. In England, the companies Vinten and Lawley both made flatbed printers, which were the cheapest and easiest to make.

Throughout the world, these printers have been copied many times and local versions made by hand can be seen from Brazil to India.

Film slip